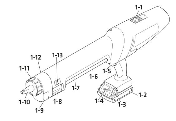
Přehled částí


UZAVÍRACÍ MECHANISMUS A MIXÉR
Nelze správně namontovat červený kroužek (1-11). Mohu systém stále používat?
Řešení: Nepoužívejte systém, pokud červený kroužek (1-11) nelze správně namontovat. Pokud mixér není zabezpečen červeným kroužkem, lepidlo může v průběhu aplikace natéct do šedého krytu (1-12) a znečistit dávkovač zevnitř. Před aplikací se vždy ujistěte, že je kryt správně uzavřen.
- Zkontrolujte, zda je správně namontován směšovač (mixér); pokud ne, namontujte ho správně a zkuste znovu přístroj zapnout.
- Zkontrolujte, zda je znečištěn šedý kryt; pokud ano, použijte náhradní a vyčistěte až po úplném vytvrzení lepidla.
Viděl jsem, že do šedého krytu (1-12) proniká lepidlo a znečistilo dávkovač.
Řešení: Lepidlo může vniknout do šedého krytu (1-12) pokud je mixér, červený kroužek (1-11) nebo šedý kryt (1-12) špatně namontován.
- Před aplikací se vždy ujistěte, že jsou součástky správně namontovány a uzamknuty.
- Čištění: Vyjměte a rozeberte všechny znečištěné součástky. Mokré lepidlo co nejdůkladněji odstraňte pomocí stěrky. Nechte lepidlo vytvrdnout. Mechanicky odstraňte vytvrzené lepidlo. Z plastových částí lze odstranit celkem snadno, protože nepřilne k materiálu, ze kterého je dispenser vyroben
Po aplikaci bylo lepidlo (mokré) na míchací hřídeli (1-10). Zdá se, že mixér (1-10) není dostatečně utěsněn a prokapává.
Řešení: Mixér (1-10) je vyvinut speciálně pro PowerCure, ale jeho životnost je omezená.
- Při aplikacích vyžadujících velké množství lepidla je nutné čas od času mixér vyměnit. Pokud se hřídel znečistí, vyměňujte mixér častěji.
- Hnací hřídel směšovače musí být pevná, při otáčení hřídele by se neměla třást. Pokud se hnací hřídel pohybuje, zašlete Dispenser k opravě.

Po výměně balení Powercure jsem nemohl namontovat šedý kryt (1-12) se směšovačem (1-10) a červeným kroužkem (1-11) předem namontovaným. Proč se to stalo?
Řešení: Ve většině případů je hlavním důvodem špatné zarovnání šedého krytu, uživatel ho zkoušel zatlačit silou. Najít správnou pozici vyžaduje trochu praxe.
Alternativa:
Systém je navržen tak, aby pracoval za každých podmínek tak dlouho, dokud je stisknut kontrolní spínač (1-5), přestože šedý kryt (1-12) není na svém místě. Pokud je ovládací tlačítko stisknuté, hex klíč hnací hřídele bude v jiné pozici než hex klíč mixéru. V tomto případě, prosíme sundejte mixér (1-11) ze šedého krytu (1-12) a namontujte napřed prázdný šedý kryt, potom mixér (pokud možno, použijte nový) a nakonec červený kroužek (1-11).
Po několika dnech nepoužívání systému jsem se pokusil vyměnit mixér, abych mohl s přístrojem začít znovu pracovat. Nebylo možné mixér sundat, protože lepidlo pravděpodobně vytvrdlo uvnitř balení. Jak lze tento problém vyřešit?
Řešení: V případě, že systém PowerCure nebudete delší dobu používat, je nutné ho vždy před uskladněním kompletně vyprázdnit. Mixér by mělo být možné vyjmout ze systému ještě asi týden po použití. Pokud ho nelze sundat, postupujte následovně:
- NIKDY SE NESNAŽTE SUNDAT MIXÉR S POUŽITÍM NĚJAKÉHO NÁSTROJE, POKUD JE MIXÉR PŘIMONTOVANÝ K DISPENSERU. MOHLO BY TO ZPŮSOBIT POŠKOZENÍ ŠEDÉHO KRYTU NEBO CELÉHO DÁVKOVAČE.
- Odstraňte červený kroužek (1-11) a šedý kryt (1-12). Vyjměte balení lepidla (salám) PowerCure společně s šedým krytem a namontovaným mixérem.
- Vytáhněte mixér (1-10) co nejdále a otáčejte ho jedním směrem (může vyžadovat určitou sílu)
- Mixér se uvolní a pak se může vytáhnout.
- Pokud je mixér zablokován, odstraňte mixážní sadu i balení lepidla PowerCure a znovu začněte s novými součástkami
FUNKCE POWERCURE DISPENSER
Po stisknutí ovládacího spínače trvá až 15 sekund než začne lepidlo vytékat. Jak je možné to urychlit.
Řešení: To je normální. PowerCure Dispenser nepracuje stejně jako klasická vytlačovací pistole: má jeden motor, který plní tři funkce. Po stisknutí ovládacího spínače se nejprve systém nastartuje, potom vyvine tlak na lepidlo v balení (salám) a nakonec začne vytlačovat akcelerátor. Tento proces trvá cca 15 sekund. Jedinou možností urychlení je mírné zatlačení lišty (1-14) do lepidla před stisknutím ovládacího spínče (1-5).
PowerCure Dispenser náhle přestal během aplikace pracovat. Jak tomu můžeme zabránit?
Řešení: Možností je více:
- Zkontrolujte, zda je baterie nabitá. Pokud ne, vyměňte ji a dobijte.
- Když příliš často přepínáte ovládací spínač (1-5) (tzn. stisknete a uvolníte vícekrát během krátké doby), elektronika Dispenseru může být "zmatená" a přestane fungovat. Počkejte několik vteřin a restartujte aplikaci.
- Použití systému za velmi nízkých teplot je náročnější a proto spotřebovává více energie; za těchto podmínek se systém zastaví, když dosáhne maximálního zatížení.
- Mixér může být zablokován (např. vytvrdnutým lepidlem). V tomto případě byste měli slyšet větší hluk a cítit vibrace při stisknutí ovládacího spínače.
Po ukončení aplikace se systém znovu sám nastartuje. Je to normální?
Odpověď: Ano, je to normální; systém po ukončení aplikace spustí na 5 sekund zpětný chod, aby uvolnil tlak z lepidla a zabránil jeho dalšímu vytlačování. Proces zpětného chodu je možné okamžitě přerušit stisknutím ovládacího spínače (1-5).
Uvolnila se hliníková hlaveň. Jak to mohu opravit?
Řešení: Hliníkovou hlaveň můžete zajistit znovu ručně.
Část Dispenseru se nepohybuje, je to možné opravit?
Řešení: Pohyblivé části Dispenseru, jako je hnací hřídel mixéru, vytlačovací lišta (1-14), ovladač rychlosti (1-1), ovládací spínač (1-5) a rukojeť pistole (1-8), je nutné udržovat čisté (bez lepidla), aby byly zajištěny jejich správné funkce. Vytvrzené lepidlo lze většinou jednoduše odstranit, protože nepřilne k materiálu, ze kterého je Dispenser vyroben.
Vypadá to, že PowerCure Dispenser běží pomaleji než dříve, jak je to možné?
Řešení: PowerCure Dispenser může jet pomaleji pokud se náhodou stalo, že byla snížena rychlost na regulátoru rychlosti (1-1).
- Přesuňte regulátor rychlosti (1-1) dopředu. Systém může fungovat pomaleji také za nízkých teplot, když je nižší kapacita baterie anebo je vyšší viskozita materiálu.
- Pokud systém používáte za normálních teplot a přesunutí regulátoru rychlosti (1-1) do přední pozice nepomůže ke zvýšení rychlosti, je možné, že je systém rozbitý.
Vytlačovací lišta (1-14) je zaseknutá, nepohybuje se dopředu ani dozadu. Jak to mohu vyřešit?
Řešení: Indikátor obsahu náplně (1-15) pravděpodobně vypadl z lišty (1-14) a blokuje ji. Tento problém by se měl vyřešit následovně:
- UPOZORNĚNÍ: NEJPRVE VYJMĚTE BATERII
- Pokuste se najít červený indikátor obsahu náplně (1-15) v zadní části Dispenseru.
- K vyjmutí indikátoru z Dispenseru můžete použít dřevěnou špachtli.
Pokud se Vám nedaří indikátor vyjmout, zašlete Dispenser na servis.
ZASEKNUTÍ FOLIE
Folie se navinula kolem pístu a prázdný obal PowerCure nejde jednoduše vyjmout z dávkovače. Jak to vyřešit?
Řešení: Zaseknutí folie je známkou opotřebení a vyžaduje výměnu pístu. V případě nejhoršího scénáře může vést namotání folie až k porušení obalu, znečištění uvnitř dávkovače a pravděpodobně i jeho nenávratné zničení. Nejlepším řešením je přestat přístroj okamžitě používat do doby výměny pístu za nový.
V současné době musí být výměna pístu provedena autorizovaným servisním střediskem.
Když jsem zkoušel vyjmout prázdný obal PowerCure, folie se roztrhla a lepidlo vniklo dovnitř dávkovače PowerCure Dispenser. Jak je možné systém vyčistit?
Řešení: Pokud je folie roztržená, postupujte dle následujících pokynů:
- Vyjměte baterii, stiskněte uvolňovací tlačítko (1-17)
- Ujistěte se, že je odstraněn šedý kryt (1-12)
- Vytahujte lištu (1-14) dozadu, dokud konec lišty (1-15) nevyjde z dávkovače. Zatlačte na zakončení lišty (1-15) a vyjměte ho z držáku (1-14)
- NIKDY LIŠTU (1-14) NEZATLAČUJTE CELOU ZPĚT. MOHLO BY TO ZPÙSOBIT VNIKNUTÍ LEPIDLA DO MOTORU A KOMPLETNÍ ZNIČENÍ SYSTÉMU
- Stiskněte ovládací spínač (1-5) dokud není možné píst a lištu (1-14) vytáhout z dávkovače přední stranou
- Odešlete demontovaný systém do servisu.